Windshield Wash Mechanism, Howo Truck Parts Catalogs

| Windshield wash mechanism | ||
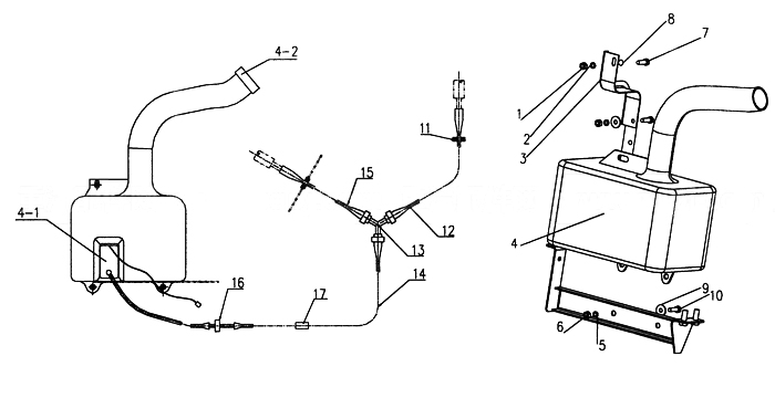
| HOWO TRUCK CAB | ||
| Sequence | Name | Part No. |
| 1 | I type hexagon nuts | Q340B06 |
| 2 | Spring washer | Q40306 |
| 3 | Windshield washer container holder | AZ1646860005 |
| 3 | Windshield washer container holder | AZ1642860009 |
| 4 | Windshield washer assembly | WG1642860001/1 |
| 4 | Windshield washer assembly | WG1646860001 |
| 5 | Spring washer | Q40308 |
| 6 | I type hexagon nuts | 340B08 |
| 7 | Hex head bolts | Q150B0625 |
| 8 | Large Washer | Q40206 |
| 9 | Large Washer | Q40208 |
| 10 | Hex head bolts | Q150B0830 |
| 11 | Over board retainer | AZ1642860007 |
| 12 | Hose | AZ1642860003 |
| 13 | V-type fittings | 116100770121 |
| 14 | Hose | AZ1642860005 |
| 15 | Hose | AZ1642860004 |
| 16 | Two-way connector | AZ1600860121 |
| 17 | Wire bundle clamps | WG1600860008 |
| 18 | Bracket assembly | AZ1646860004 |
| 4-1 | Washer pump | WG1642860001-1 |
| 4-2 | Cover | WG1642860001-2 |