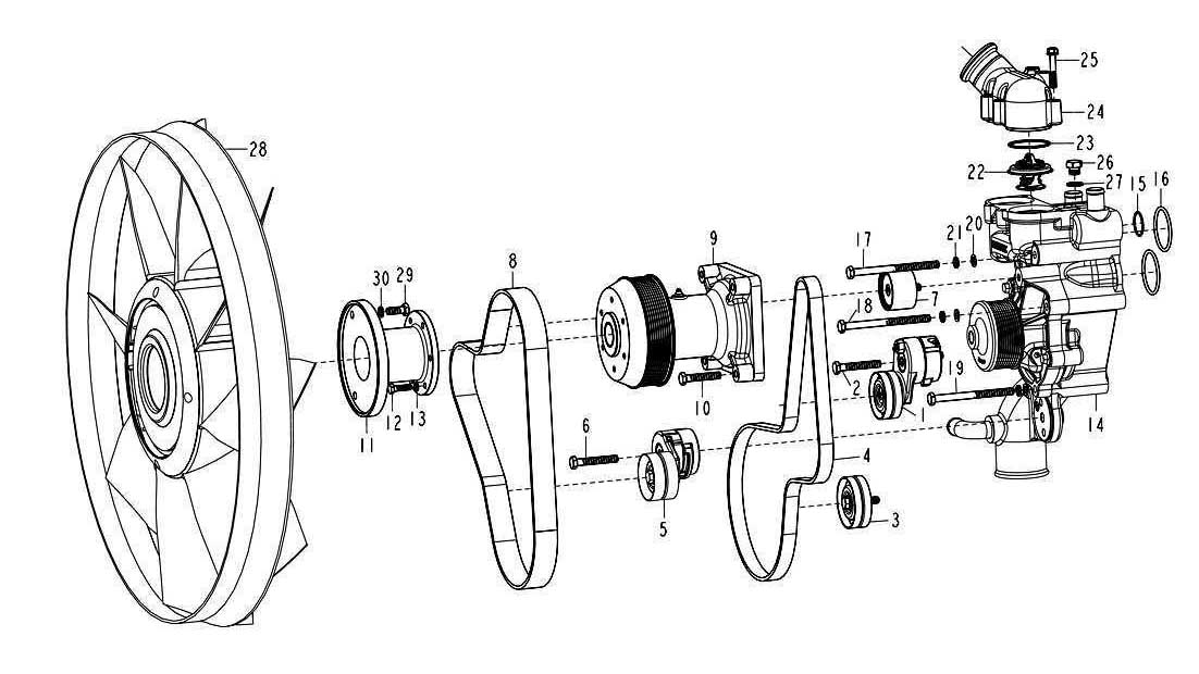
WATER PUMP & COOLING SYSTEM, HOWO TRUCK PARTS CATALOGS
| WATER PUMP & COOLING SYSTEM | |||
| D12 ENGINE, EURO-III | |||
| Serial | Number | Name | Quantity |
| 1 | VG1246060001 | automotive tensinioning wheel | 1 |
| 2 | Q150B1065TF2 | hex head bolt | 1 |
| 3 | VG1246060004 | idler | 1 |
| 4 | VG1246060008 | poly V belt | 1 |
| 5 | VG1246060002 | tensioning wheel assy | 1 |
| 6 | Q150B1065TF2 | hex head bolt | 1 |
| 7 | VG1246060047 | idler | 1 |
| 8 | VG1246060082 | poly V belt | 1 |
| 9 | VG1246060070 | fan support | 1 |
| 10 | Q150B1055 | hex head bolt | 4 |
| 11 | VG1246060045 | middle flange | |
| 11 | VG1246060046A | middle flange | 1 |
| 12 | Q150B0830 | hex head bolt | 6 |
| 13 | Q40308 | spring gasket | 6 |
| 14 | VG1246060042 | water pump assy | 1 |
| 15 | VG1246060027 | O ring | 1 |
| 16 | VG1246060028 | O ring | 2 |
| 17 | Q150B10150 | hex head bolt | 3 |
| 18 | Q150B10135 | hex head bolt | 1 |
| 19 | Q150B10125 | hex head bolt | 1 |
| 20 | Q40110 | flat gasket | 5 |
| 21 | Q40310 | spring gasket | 5 |
| 22 | VG1246060024 | thermostat | 2 |
| 22 | VG1246060029 | thermostat (optional) | 2 |
| 23 | VG1246060025 | O ring | 2 |
| 24 | VG1246060023 | housing of thermostat | 1 |
| 25 | Q1840850 | hex head bolt | 4 |
| 26 | Q617B14 | hex head screw plug | 1 |
| 27 | VG9003080005 | compound gasket ring | 1 |
| 28 | VG1234060034 | φ646 ring form silicone oil fan | |
| 28 | VG1246060030 | φ704 ring form silicone oil fan | 1 |
| 28 | VG1246060051 | φ758 ring form silicone oil fan | |
| 29 | Q150B1025 | hex head bolt | 3 |
| 30 | Q40310 | spring gasket | 3 |