REAR DRIVING AXLE CASE, SINOTRUK HOWO SPARE PARTS CATALOG


REAR DRIVING AXLE CASE, SINOTRUK HOWO SPARE PARTS CATALOG

Categoryhowo truck partshowo parts catalogs pdf
 
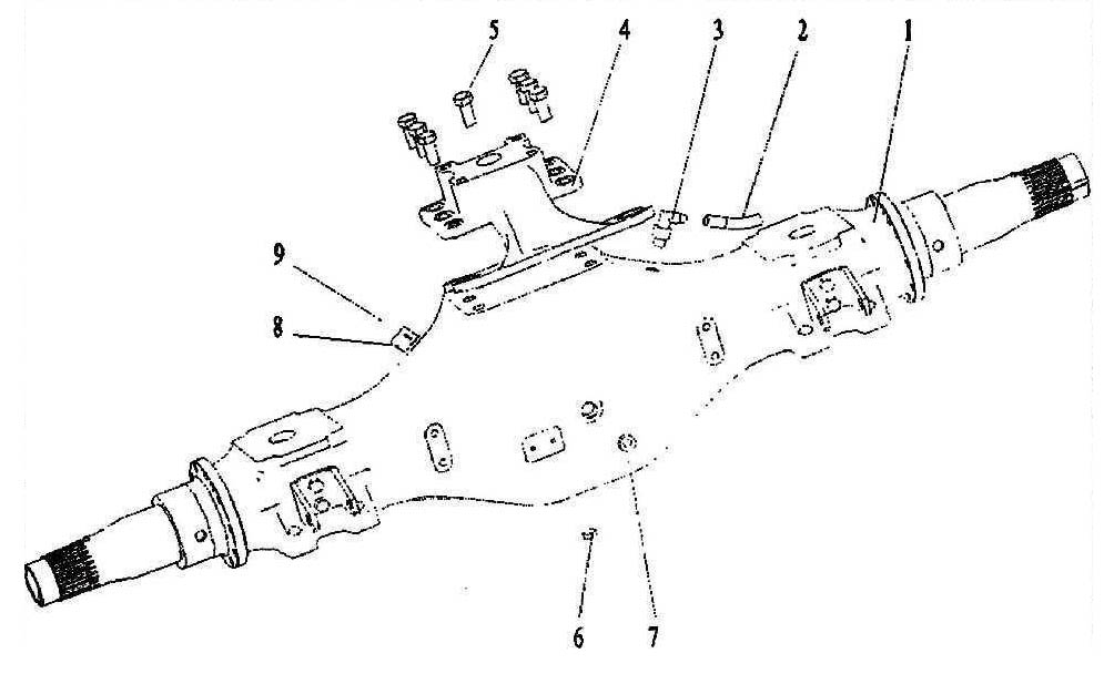
REAR DRIVING AXLE CASE, AC16
Serial Number Name Quantity
    后桥壳     
1   AZ9981330065 rear driving axle case 1
2   WG9231330106 rubber tube 1
3   WG9231330105 air plug 1
4   WG9981340043 chamber support 1
5   Q151B2045TF2 hexagonal head bolt 7
6   WG9003960024 inner hexagon cone screw plug 1
7   WG9003960030 inner hexagon cone screw plug 1
8   WG2297Y4835 nameplate 1
9 190003904529  rivet 2



Other catalog pages:

WG9112340123

FIRST REAR DRIVING AXLE, SINOTRUK HOWO SPARE PARTS CATALOG

FIRST REAR DRIVING AXLE CASE, SINOTRUK SPARE PARTS CATALOG